Overviews
Resumen
Para Paneles KIDDE
- VS1, VS4
- FX-64, FX-1000
SA-ETH Ethernet Port, IP Communicator, mounts in cabinet on base plate.
La tarjeta SA-ETH proporciona una conexión de red estándar de 10/100 base-T Ethernet para conectarse a una red local. Se puede utilizar la tarjeta para cargar y descargar la configuración del panel, el historial y el estado actual a un equipo que ejecuta la utilidad de configuración o conectarla al recibidor de una estación de monitoreo central compatible en una red.
Características
- La tarjeta SA-ETH proporciona una conexión de red Ethernet 10/100 Base T estándar
- La tarjeta admite conectividad IP para servicios de monitoreo por parte de una estación de supervisión para cumplir con NFPA 72 Capítulo 26.
- La tarjeta Ethernet utiliza el protocolo FIBRO para comunicarse con los receptores del sistema Sur-Gard
- La tarjeta se puede utilizar para descargar la programación de configuración desde el iO-CU al panel.
- La tarjeta Ethernet está instalada en el conjunto de plástico y se conecta a la placa de circuito principal mediante un cable plano.
Instalación
La tarjeta Ethernet se instala en el montaje plástico y se conecta al tablero del circuito principal mediante un cable cinta.
Nota: La tarjeta Ethernet debe estar configurada mediante programación para tener un funcionamiento adecuado.
Para instalar la tarjeta Ethernet:
- Apague el panel. Para eso, primero desconecte las baterías y, luego, desconecte la alimentación CA principal.
- Encuentre la ranura para la tarjeta en el montaje de plástico detrás del tablero del circuito principal y el conector J1 en el tablero del circuito principal (en la parte superior derecha del tablero principal).
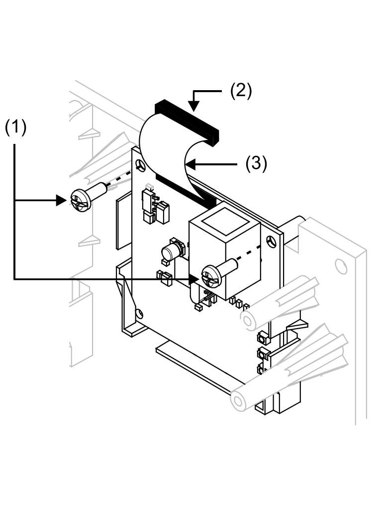
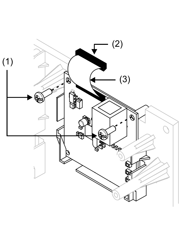
- Deslice la tarjeta en la ranura del montaje plástico como se muestra en la Figura 1.
- Conecte la tarjeta al montaje plástico con dos tornillos plastite Nº. 6 como se ve en la Figura 2.
- Conecte el cable cinta (N/P 7140189) de la tarjeta al conector J1 en el tablero del circuito principal. El conector J1 se encuentra en la parte superior derecha del tablero del circuito principal.
- Conecte el cable de red. Consulte “Cableado”.
- Encienda el panel. Para eso, primero conecte la alimentación CA principal y, luego, conecte las baterías.
Cableado
Cableado de la tarjeta SA-ETH y ubicación de los diodos LED
Nota: Puede usar un cable de conexión RJ-45 o un cable cruzado RJ-45.
Especificaciones
Ethernet: 10/100 Base-T
Modo de conexión: Autonegociación
Voltaje de funcionamiento: 24 V CC
Corriente de funcionamiento: Modo de espera/Alarma: 34 mA, Máx.: 41 mA
Tramos de cable máx.: 200 pies (60 m), cable Cat 5 (panel a equipo de comunicación)
Conector de cable Cat 5: RJ-45
Dirección IP (predeterminada): 192.168.001.003
Máscara de subred (predeterminada): 255.255.255.0
Puerta de enlace (predeterminada): 000.000.000.000
Entorno de funcionamiento: Temperatura.- 32 a 120 °F (0 a 49 °C); Humedad relativa 0 a 93 % HR, sin condensación a 90 °F (32 °C)
SA-ETH Ethernet Port, IP Communicator, mounts in cabinet on base plate.
Para Paneles KIDDE
- VS1, VS4
- FX-64, FX-1000






Valoraciones
No hay valoraciones aún.